Назначение
Импульсные реле ИМШ1
(черт. 24110.00.00А) предназначены для работы в рельсовых цепях постоянного
тока, ИМВШ (черт. 25501.00.00А) - в цепях переменного тока; устанавливаются в
релейных шкафах и на стативах.
Конструктивные особенности
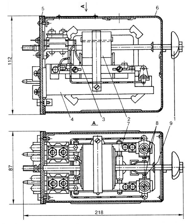
Основными деталями
импульсных малогабаритных штепсельных реле
типа ИМШ являются: 1 - ручка, 2 - постоянный магнит, 3 - катушка, 4 - корпус, 5 - основание, 6 -
колпак, 7 - магнитопровод, 8 - неподвижные контакты, 9 - якорь с подвижным
контактом.. Реле с выпрямителем типа ИМВШ, кроме перечисленных деталей, имеет
панель с диодами. (Рис.18)

Рис.18
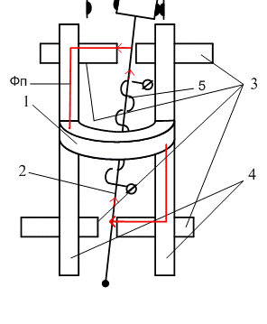
Эскиз электромагнитной и
контактной систем реле типа ИМШ
представлен на рисунке 2. Электромагнитная система включает в себя
магнитопровод из двух полюсных наконечников (4) и четырех болтов
(3), постоянный магнит (1), якорь (2) и одну катушку (5). Постоянный магнит
образует постоянный магнитный поток Фп (Рис.19) вне зависимости от наличия и
направления тока в обмотке. А обмотка образует свой магнитный поток при наличии
тока в ней и направление этого магнитного потока будет зависеть от направления
тока в обмотке, т.е. от полярности питающего напряжения. Более того, реле работает только от одной полярности питающего напряжения, поэтому
эти реле относят к однополярным реле или по другому к реле с преобладанием
полярности.

Рис.19
Детали магнитной системы
укреплены в металлическом корпусе реле.
В реле ИМВШ панель с выпрямителями установлена
на металлическом корпусе. В качестве выпрямителя используют четыре диода Д7Ж
или Д7Е, собранных по мостовой схеме.
Реле ИМВШ не является однополярным (с преобладанием полярности) из-за
наличия выпрямителя. Контактная система всех импульсных реле одинакова - это один полный тройник, состоящий из
общего (подвижного), тылового (тот с которым замкнут общий контакт в отсутствии
питания на обмотке) и фронтового
контактов. Контактирующие части всех
трех контактов изготовляют из металлокерамического сплава.
На якорях реле ИМШ и ИМВШ
имеются штифты из бронзы, предохраняющие якорь от залипания.
Импульсное реле на
релейных стативах рекомендуется устанавливать в шахматном порядке с другими
штепсельными реле, а еще лучше с конденсаторными блоками. Такая расстановка
приборов позволяет снизить влияние магнитного поля рассеяния постоянного
магнита одного импульсного реле на магнитное поле другого.
Условия эксплуатации
Импульсные реле типа ИМШ
и ИМВШ изготовляют для следующих условий эксплуатации:
- температура окружающего воздуха от -50 до
+60°С;
- относительная влажность
окружающего воздуха до 90% при температуре +20°С и до 70% при температуре
+40°С;
- рабочее положение - горизонтальное,
контактным набором кверху.
Допускается отклонение от
рабочего положения не более чем на 5° в любую сторону.
Реле должны храниться в картонных
коробках в закрытом вентилируемом помещении при температуре от 1 до +40°С,
относительной влажности воздуха не более 80% и отсутствии в окружающей среде
кислотных и других агрессивных примесей. Хранение реле в транспортной упаковке
допускается не более трех месяцев.
Габаритные размеры реле
218x87x112 мм; масса —
Электрическая прочность и
сопротивление изоляции
Изоляция реле должна в
течение 1 мин±5с выдерживать без пробоя испытательное напряжение 1000 В
переменного тока от испытательной установки мощностью 0,5 кВА частотой 50 Гц,
приложенное между всеми токоведущими частями и кожухом реле. Погрешность
измерения испытательного напряжения не должна превышать ±5%.
Сопротивление изоляции
между соседними электрически не связанными токоведущими частями реле, а также
между ними и кожухом реле при относительной влажности воздуха до 90% и
температуре (20±5)°С должно быть не ниже 10 МОм. При температуре (40±5)°С и
относительной влажности 70% сопротивление изоляции должно быть не ниже 2 МОм.
Измерение сопротивления
изоляции производится любым методом, обеспечивающим погрешность измерения ±20%
при напряжении постоянного тока 500В.