Общие сведения
Нейтральные малогабаритные третьего поколения
реле НМШ (штепсельные, нормальнодействующие),
НМ (нештепсельные), НМШМ (штепсельные, медленнодействующие) и НММ
(нештепсельные, медленнодействующие)
применяются для осуществления
электрических зависимостей в устройствах автоматики и телемеханики на железнодорожном
транспорте начиная с 1959 года. Штепсельные (в колпаке) реле предназначены для
установки на стативах и в релейных шкафах,
нештепсельные (открытые) - для
установки в релейных блоках. По электрическим и механическим характеристикам
реле штепсельного и нештепсельного типа аналогичны
Малогабаритные
реле постоянного тока типов НМШ1 и НМШМ1 изготовляют по черт. 13552.00.00В;
НМШ2 и НМШМ2 - по черт. 13706.00.00В; НМШЗ, НМШ4 и НМШМ4 - по черт.
24069.00.00Б; НМ1 и НММ1 - по черт. 13714.00.00Б; НМ2 и НММ2 - по черт.
13715.00.00Б; НМ4 и НММ4 - по черт. 24059.00.00Б.
Конструктивные особенности
Нейтральные малогабаритные
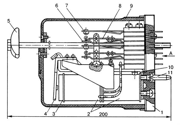
штепсельные реле постоянного тока типа НМШ имеют следующие основные части: 1 -
основание; 2 - катушки; 3 - сердечник; 4 - якорь; 5 - ручка; 6 - тыловой
контакт; 7 - фронтовой контакт; 8 - общий контакт; 9 - колпак; 10 - ярмо; 11 -
штырь направляющий.(Рис.25)

Рис.25
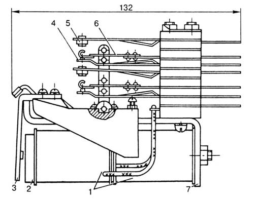
Реле типа НМ имеют катушки 7, сердечник 2,
якорь 3, тыловой контакт 4, фронтовой контакт 5, общий контакт 6, ярмо 7. Реле постоянного
тока являются электромагнитными двухпозиционными (Рис.26).

Рис.26
Обмотки
нормальнодействующих реле НМШ (НМ) состоят из двух катушек, намотанных на
шпули. Шпули изготовлены из фенопласта. Медленнодействующие реле НМШМ (НММ) в
зависимости от величины замедления на отпускание якоря выпускаются двух видов:
1) с обмоткой, состоящей
из двух катушек на шпулях из красной меди;
2) с одной катушкой на
шпуле из красной меди, а вместо другой катушки помещается сплошная медная
гильза (МГ). Медная гильза устанавливается при больших замедлениях на
отпускание якоря на месте первой катушки.
Катушка, помещенная на сердечнике со стороны его крепления, называется первой и подключается к контактным выводам 1 и 3, а
катушка, помещенная со стороны якоря реле, называется второй и подключается к
контактным выводам 2 и 4.
Обмотки реле могут быть включены раздельно, последовательно
или параллельно.
Для намотки катушек реле
ранее применялся провод марки ПЭЛ, а с
Каждая полная контактная
группа состоит из: общих (подвижных) контактов, представляющих собой плоские
бронзовые пружины с серебряными наклепками, тыловых контактов с серебряными и
общих с граффито-серебрянными наклепками.
Условия эксплуатации
Реле изготовляют для
следующих условий эксплуатации:
- температура окружающего воздуха для
штепсельных реле от -50 до +60°С, для реле с ламелями под пайку (нештепсельных)
- от 5 до 35°С;
- относительная влажность окружающего воздуха
для штепсельных реле до 90% при температуре +20°С и до 70% при температуре
+40°С, для реле с ламелями под пайку (нештепсельных) - до 80% при температуре
+20°С;
- рабочее положение - горизонтальное контактным
набором кверху.
- допускаются отклонения от рабочего положения
не более чем на 5° в любую сторону.
Реле должны храниться в
картонных коробках в закрытом вентилируемом помещении при температуре от +5 до
+35°С, относительной влажности воздуха не более 80% и при отсутствии в окружающей
среде кислотных и других агрессивных примесей. Хранение реле в транспортной
упаковке допускается не более трех месяцев.
Габаритные размеры реле:
НМШ и НМШМ - 200x87x112 мм; НМ1, НММ1, НМ4 и НММ4 - 132x67x93 мм; НМ2 и НММ2
-132x67x80 мм.
Таблица № 49 Масса реле:
|
Тип реле |
Масса (кг) |
|
НМШ1-500
(НМШ1-400), НМШ1-1440, НМШ1-2000 (НМШ1-1800)
|
1,6 |
|
НМШ1-7000 |
1,5 |
|
НМШМ1-10, НМШМ1-11, НМШМ1-20, НМШМ1-22,
НМШМ1-180
|
1,7 |
|
НМШМ1-360
|
1,6 |
|
НМШМ1-750 (НМШМ1-700), НМШМ1-560 |
1,7 |
|
НМШМ1-1300/750 (НМШМ1-1100/700), НМШМ1-1500
(НМШМ1-1400), НМШМ1-1000/560, НМШМ1-1120
|
1,6 |
|
НМШ2-1000 (НМШ2-900), НМШ2-4000, НМШ2-1200
|
1,4 |
|
НМШМ2-1,7, НМШМ2-1,5
|
1,7 |
|
НМШМ2-350 (НМШМ2-320)
|
1,6 |
|
НМШМ2-700 (НМШМ2-640)
|
1,5 |
|
НМШМ2-1750 (НМШМ2-1500), НМШМ2-10/1500,
НМШМ2-11/1500 НМШМ2-3500
(НМШМ2-3000)
|
1,5 |
|
НМШЗ-250/400, НМШЗ-550/400, НМШ4-З,4 , НМШ4-530, НМШ4-720 (НМШ4-600), НМШ4-2400,
НМШ4-3000
|
1,5 |
|
НМШМ4-280 (НМШМ4-250) |
1,7 |
|
НМШМ4-560 (НМШМ4-500), НМШМ4-100/1300
(НМШМ4-100/1100)
|
1,5 |
|
НМ1-400, НМ1-1440, НМ1-2000 (НМ1-1800),
НМ1-7000 |
1,2 |
|
НММ1-10, НММ1-11, НММ1-22, НММ1-360,
НММ1-560, НММ1-750 (НММ1-700)
|
1,4 |
|
НММ1-1500 (НММ1-1400), НММ1-1300/750 (НММ
1-1100/700), НММ 1-1000/560, НММ1-1120 |
1,2 |
|
НМ2-4000
|
1,1 |
|
НММ2-1,5, НММ2-1,7, НММ2-320, НММ2-640,
НММ2-1750 (НММ2-1500)
|
1,3 |
|
НММ2-10/1750 (НММ2-10/1500), НММ2-11/1500,
НММ2-3500 (НММ2-3000) |
1,2 |
|
НМ4-3, НМ4-3,4, НМ4-530, НМ4-720 (НМ4-600),
НМ4-2400, НМ4-3000
|
1,1 |
|
НММ4-250, НММ4-500, НММ4-100/1300
(НММ4-100/1100), НММ4-105/1000
|
1,3 |
Электрическая прочность и
сопротивление изоляции
Изоляция реле должна в
течение 1 мин выдерживать без пробоя испытательное напряжение 2000 В переменного
тока частотой 50 Гц, приложенное между всеми токоведущими частями реле и
магнитопроводом. Испытание электрической прочности изоляции проводят путем
приложения испытательного напряжения (испытательная установка мощностью не
менее 0,5 кВА, дающая практически синусоидальную кривую напряжения частоты 50
Гц) в течение 1 мин±5 с. Испытательное напряжение повышают постепенно. Погрешность
измерения испытательного напряжения не должна превышать ±5%.
Сопротивление изоляции между соседними электрически не связанными токоведущими частями реле, а также между ними и магнитопроводом реле при относительной влажности воздуха до 90% и температуре +20°С должно быть не ниже 200 МОм.
При температуре +40°С и
относительной влажности 70% сопротивление изоляции должно быть не ниже 50 МОм.
Сопротивление изоляции измеряют любым
методом при напряжении постоянного тока 500 В.