Назначение
Огневые малогабаритные
реле типов ОМШ2-40 (штепсельные черт. 13561Б.00.00) и ОМ2-40 (нештепсельные
черт. 13716Б.00.00) предназначаются для контроля целости нитей горящих ламп
линзовых светофоров на станции мощностью 
15 и 25 Вт, напряжением 12 В при центральном питании переменным током частотой
50 Гц.   С 
Аварийное огневое реле
типа АОШ2-1 (черт. 24144.00.00А) предназначено для контроля целости нити
горящей и не горящей светофорной лампы мощностью 5 и 10 Вт, напряжением 10 В
при питании переменным током частотой 50 и 75 Гц  в устройствах автоматики и телемеханики
метрополитена.
Реле типа АОШ2-180/0,45
(черт 24145.00.00Б) служит для контроля целости нити горящей и не горящей
лампы мощностью 15, 25 и 35 Вт, напряжением 12 В при питании переменным током
частотой 50 и 75 Гц линзового железнодорожного 
светофора.  С помощью обмотки
180Ом осуществляется контроль состояния холодной нити лапы в том числе и в
мигающем режиме..
Реле типа АОШ2-1 (черт.
24144.00.00А) предназначено для контроля целости нити лампы прожекторного
светофора мощностью 5 и 10 Вт, напряжением 10 В при питании переменным током
частотой 50 и 75 Гц.
Реле типов ОМШ2-40,
ОМШ2-46, ОМШМ-1, АОШ2-180/0,45 и АОШ2-1 являются штепсельными, устанавливаются
на стативах и в релейных шкафах. Реле типа ОМ2-40, ОМ2-46 - нештепсельные,
устанавливаются в релейных блоках.
Реле типов ОМШ2-40 и
ОМ2-40 включаются последовательно с первичными обмотками сигнальных
трансформаторов; при лампе 15 Вт, 12 В применяется сигнальный трансформатор
СТ-3, а при лампе 25 Вт, 12 В - СТ-2А. Реле ОМШ2-46 (ОМ2-46) предназначены для
работы с трансформаторами СТ-4 и СТ-5.
            Реле типов АОШ2-180/0,45 и АОШ2-1
устойчиво работают в схемах питания ламп при мигающем режиме. 
Конструктивные особенности
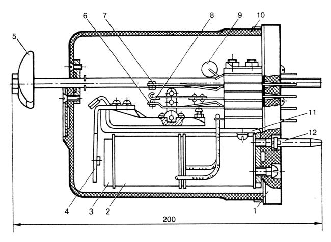
Огневые малогабаритные
штепсельные реле типа ОМШ2-40 и ОМШ2-46 имеют следующие основные детали: 1 -
основание;     2 - катушка; 3 - сердечник;
4 - якорь; 5 - ручка; 6 - тыловой контакт;  
7 - фронтовой контакт; 8 - общий контакт; 9 - диод; 10 - колпак; 11 -
ярмо;  12 - штырь направляющий.(Рис.29)

Рис.29
Устройство реле ОМ2-40,
ОМ2-46, ОМШМ-1, АОШ2-180/0,45 и АОШ2-1 аналогично устройству реле ОМШ2-40 и
ОМШ2-46.
Конструкция электромагнитной и контактной систем реле
выполнена аналогично конструкции нейтральных реле постоянного тока типов НМШ2
и АНШ2. Внутри реле установлены выпрямительные элементы - диоды.
Конструкция реле, схема
соединения обмоток и расположение контактов реле ОМШ2-46 (ОМ2-46) аналогичны
ранее выпускавшимся реле ОМШ2-40 (ОМ2-40). Отличие их заключается в обмоточных
данных и электрических характеристиках.
Условия эксплуатации
Огневые реле всех типов
изготовляются для следующих условий эксплуатации:
- температура окружающего
воздуха для штепсельных реле от -50 до +60°С, нештепсельных (ОМ2-40 и ОМ2-46) -
от 5 до +35°С;
- относительная влажность
окружающего воздуха для штепсельных реле до 90% при температуре +20°С и до 70%
при температуре +40°С, нештепсельных (ОМ2-40 и ОМ2-46) - до 80% при температуре
+20°С;
- рабочее положение -
горизонтальное, контактным набором кверху.
Допускается отклонение от
рабочего положения не более чем на 5° в любую сторону.
Реле должны храниться в
закрытом вентилируемом помещении в картонных коробках при температуре от 5 до
+35°С, относительной влажности воздуха не более 80% и отсутствии в окружающей
среде кислотных и других агрессивных примесей. Хранение в транспортной
упаковке допускается не более трех месяцев. Нештепсельные реле ОМ2-40, ОМ2-46
транспортируют и хранят в специальной упаковке.
Габаритные размеры
штепсельных реле - 200x87x112 мм,   реле
ОМ2-40 - 132x67x87 мм.
                              Таблица № 50 Масса реле
| 
   Тип реле  | 
  
   Масса, кг  | 
 
| 
   ОМШ2-40, ОМШ2-46  | 
  
   1,55  | 
 
| 
   ОМШМ-1  | 
  
   1,9  | 
 
| 
   АОШ2-180/0,45  | 
  
   1,6  | 
 
| 
   А0Ш2-1  | 
  
   2,0  | 
 
| 
   ОМ2-40, ОМ2-46  | 
  
   0,94  | 
 
Электрическая прочность и
сопротивление изоляции
Изоляция всех типов
огневых  реле должна выдерживать без
пробоя испытательное напряжение 2000В переменного тока частотой 50 Гц, приложенное
между всеми токоведущими частями реле и магнитопроводом. Изоляция выпрямителя
реле ОМШМ-1 от корпуса должна выдерживать без пробоя испытательное напряжение
1000 В переменного тока частотой 50 Гц.
Испытание электрической
прочности изоляции производят путем приложения испытательного напряжения (при
мощности испытательной установки не менее 0,5 кВА, дающей практически
синусоидальную кривую напряжения частотой 50 Гц)  в течение 1 мин±5 с. Погрешность измерения испытательного
напряжения не должна превышать ±5%.
Сопротивление изоляции
между соседними электрически не связанными токоведущими частями любого типа
реле, а также между ними и магнитопроводом реле при относительной влажности
воздуха до 90% и температуре +20°С должно быть не ниже 200 МОм. При
температуре +40°С и относительной влажности воздуха 70% сопротивление изоляции
должно быть не ниже 50 МОм.
Измерение сопротивления
изоляции производят любым методом, обеспечивающим погрешность измерения не
более ±20% при напряжении постоянного тока 500 В.