Назначение
Поляризованные пусковые
реле типов ПМПШ и ПМП предназначены для
работы в схемах включения стрелочного электропривода, а реле ПМШ - для
осуществления различных схемных зависимостей в устройствах автоматики и
телемеханики. Типы и номера чертежей реле следующие:
·
ПМПШ-150/150 -
штепсельные (в колпаке,
черт. 13856.00.00), устанавливаются
на стативах и в релейных шкафах;
·
ПМП-150/150 -
нештепсельные (открытые черт 24127.00.00), устанавливаются только в
релейных блоках;
·
ПМШ-1400
- штепсельные (в колпаке черт. 13853.00.00), устанавливаются на стативах и в
релейных шкафах;
·
ПМПШМ-150/150
(выпускались взамен реле ПМПШ-150/150 с
1973 по 1977г) - черт. 13856.00.00М, устанавливаются на стативах и в релейных
шкафах;
·
ПМПМ-150/150
(выпускались взамен реле ПМП-150/150 с
1973 по 1977г) - черт. 24127.00.00М, устанавливаются только в релейных блоках;
·
ПМПУШ-150/150
(с 1977г выпускаются взамен реле
ПМПШМ-150/150) - черт. 24516.00.00, устанавливаются на
стативах и в релейных шкафах;
·
ПМПУ-150/150
(с 1977г выпускаются взамен реле
ПМПМ-150/150) - черт. 24515.00.00,
устанавливаются только в релейных блоках.
Конструктивные особенности
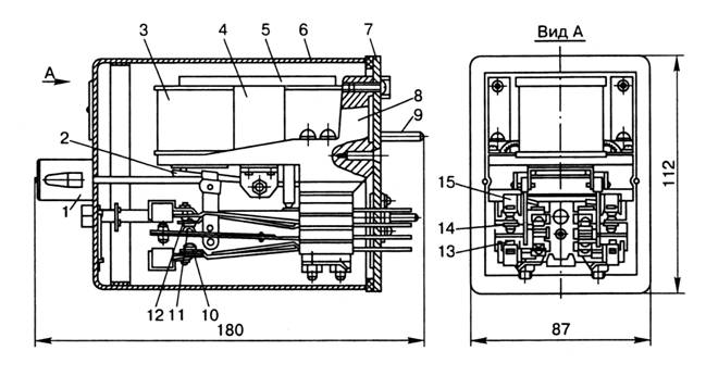
Основными деталями
штепсельных пусковых реле (Рис.30) являются:
ручка 1, якорь 2, катушка
3, постоянный магнит 4, ярмо 5, колпак 6, основание 7, кронштейн 8,
направляющий штырь 9, переведенный контакт 10, общий (подвижный) контакт 11,
нормальный контакт 12,
переведенный особо усиленный (с магнитом дугогашения) контакт 13, общий усиленный контакт 14, нормальный особо усиленный контакт 15.

Рис.30
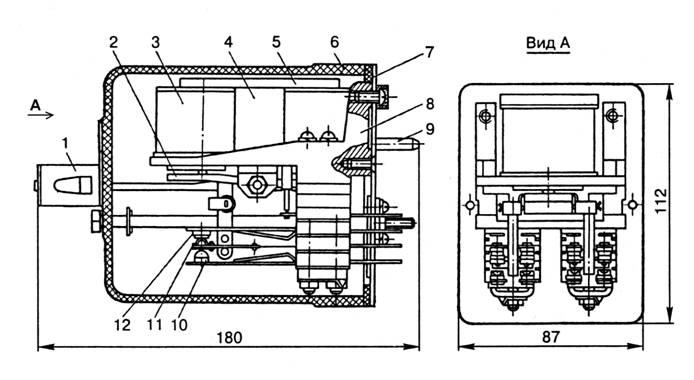
Основными деталями
штепсельных реле (Рис.31) являются: 1 - ручка, 2 - якорь, 3 - катушка, 4 -
постоянный магнит, 5- ярмо, 6 - колпак, 7- основание, 8 - кронштейн, 9 -
направляющий штырь, 10 - переведенный контакт, 11 - общий (подвижный) контакт,
12 - нормальный контакт.

Рис.31
Нештепсельные реле данных
типов отличаются от штепсельных реле тем,
что не имеют основание, прокладку, направляющий штырь, колпак и ручку.
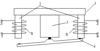
Электромагнитная система, эскиз которой
представлен на рисунке 32, всех
поляризованных реле собрана из двух сердечников 2 с катушками 5, одного
поляризованного якоря 4, ярма 1, двух постоянных магнитов 3.

Рис.32
Контактная система собрана в две колонки,
закрепленные на металлической планке, которая также укреплена на кронштейне
реле. У пусковых реле контактная система состоит из двух групп
особо усиленных контактов и двух групп усиленных контактов. Каждый
усиленный контакт имеет наклепку из металлокерамического сплава, а особо
усиленный кроме этого снабжен магнитом
дугогашения. У реле типа ПМШ контактные наклепки всех общих контактов –
серебряные, а нормальных и переведенных – граффито-серебрянные
Обмотки с выводами 1-3 и
2-4 реле ПМПШ-150/150 и ПМП-150/150 включаются раздельно. При подключении
питания к клеммам 2-4 (плюс к выводу 4, минус к выводу 2) якорь реле занимает
нормальное положение и замыкает нормальные
контакты. При подключении питания к выводам 1-3 (плюс к выводу 1, минус
к выводу 3) якорь занимает переведенное положение и замыкает переведенные контакты. Примечательно, что
после снятия питания состояние якоря, а следовательно и контактов не
изменяется. Такое явление принято называть памятью реле.
Обмотки реле ПМШ-1400
включаются последовательно (на розетке реле устанавливается перемычка между
выводами 2-3). При подключении питания к выводу 1-4 (плюс к выводу 4, минус к
выводу 1) якорь реле занимает нормальное положение и замыкает нормальные
контакты.
Реле типа ПМПШМ-150/150 и
ПМПМ-150/150 выпускались взамен реле
ПМПШ-150/150 и ПМП-150/150 с 1973 по 1977г.
С 1977г. взамен реле ПМПШМ-150/150 и ПМПМ-150/150 выпускаются реле типа ПМПУШ-150/150 и
ПМПУ-150/150. У модернизированных (улучшенных) реле повышен служебный ресурс контактной системы . Если у реле типа
ПМПШ-150/150 и ПМП-150/150 каждый особо усиленный контакт должен обеспечивать
не менее 1000000 включений и 1000 выключений нагрузки постоянного тока 4А,
240В, а каждый усиленный - не менее 100000 включений и выключений
нагрузки постоянного тока 2А, 24В. У реле
типа ПМПУШ-150/150, ПМПУ-150/150,
ПМПШМ-150/150 и ПМПМ-150/150 каждый особо усиленный контакт должен
обеспечивать не менее 10000000 включений и 100000 выключений нагрузки
постоянного тока 4А, 240В, а каждый
усиленный - не менее 1000000 включений и
выключений нагрузки постоянного тока 2А, 24В.
Условия эксплуатации
Поляризованные реле
изготовляются для следующих условий эксплуатации:
- температура окружающего
воздуха для штепсельных реле от -50 до +60°С, для нештепсельных реле - от 5 до
+35°С;
- относительная влажность окружающего воздуха
для штепсельных реле до 90% при температуре +20°С и до 70% при температуре
+40°С, для нештепсельных реле - до 80% при температуре +20°С;
- рабочее положение
горизонтальное контактным набором книзу. Допускаются отклонения от рабочего
положения не более чем на 5° в любую сторону.
Реле должны храниться в
закрытом вентилируемом помещении в картонных коробках при температуре от 5 до
+35°С, относительной влажности воздуха не более 80% и отсутствии в окружающей
среде кислотных и других агрессивных примесей. Хранение в транспортной
упаковке допускается не более трех месяцев.
Таблица
№ 51Габаритные размеры и масса реле:
|
Тип реле |
Габаритные размеры, мм |
Масса, кг |
|
ПМПШ-150/150 |
180х87х112 |
1,85 |
|
ПМШ-1400 |
1,4 |
|
|
ПМПШМ-150/150 |
2,2 |
|
|
ПМП-150/150 |
125х72х100 |
1,8 |
|
ПМПУ-150/150 и ПМПМ-150/150 |
1,4 |
|
|
ПМПУШ-150/150 |
210х87х112 |
2,2 |
Электрическая прочность и
сопротивление изоляции
Изоляция поляризованных
реле должна выдерживать без пробоя испытательное напряжение 2000В переменного
тока частотой 50 Гц, приложенное между всеми токоведущими частями реле и
магнитопроводом. Испытание электрической прочности изоляции производится путем
приложения испытательного напряжения (при мощности испытательной
установки не менее 0,5 кВА) в течение 1
мин±5 с. Погрешность измерения испытательного напряжения не должна превышать
±5%.
Сопротивление изоляции
между соседними электрически не связанными токоведущими частями реле, а также
между ними и магнитопроводом при относительной влажности воздуха до 90% и
температуре +20°С должно быть не ниже 50 МОм. При температуре +40°С и
относительной влажности до 70% сопротивление изоляции должно быть не ниже 2
МОм. Измерение сопротивления изоляции производится любым методом,
обеспечивающим погрешность измерения не более ±20% при напряжении постоянного
тока 500 В.